Aluminum push bar for insert locks

Item No. D00000143 - PUSHBAR-H
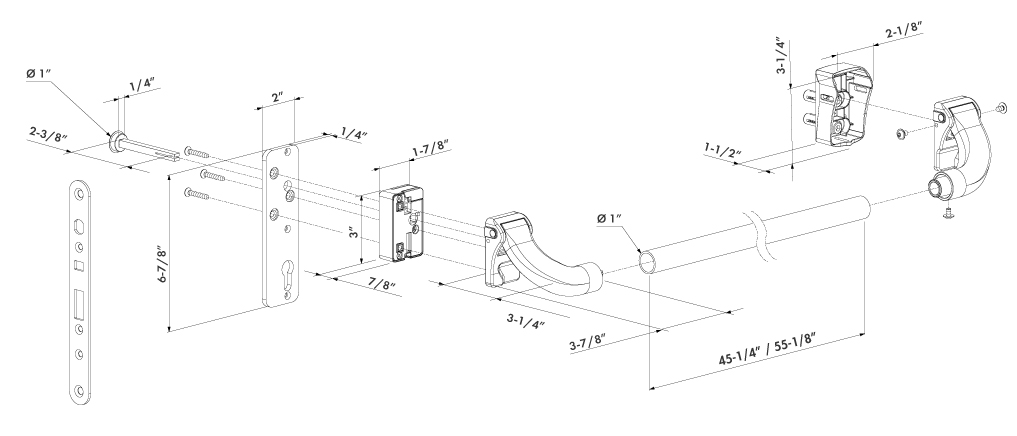
Panic bar for an easy opening and a free exit of a gate by a simple push. The aluminum PUSHBAR replaces the standard handle on the existing locks, operates the daybolt and can quickly be installed on new or existing Locinox hybrid insert locks. The PUSHBAR is available in a long version (55-1/8") for gates up to 5 ft. The push bar can however be perfectly shortened to fit any gate.
This product cannot be ordered at the moment.
1 product(s) found
Sort by:
Aluminum push bar for insert locks - PUSHBAR-H-1400
Item No. P00007041
Aluminum push bar for insert locks - Length 55-1/8"
Specifications
Specifications
  • Black powder coated aluminum push bar with stainless steel mechanism
  • Only compatible with H-Metal, H-Wood and Sixtylock
  • Fast and easy attachment to square frames with Quick-Fix bolts
  • For left and right turning gates
  • Blinded 5/16" follower included
  • Possible to combine with half handle sets with 5/16" follower
Available in following RAL-colors
Features
Drawings
Downloads

Installation instructions

Architect & Engineering Specs
Loading
Loading